Иван Воронцов и Дмитрий Семенов
В СПбГАСУ разработали гидравлическую схему вилочного погрузчика с поворотным механизмом. Получен патент на изобретение № 2783756.
.jpg)
В составе авторского коллектива – сотрудники кафедры наземных транспортно-технологических машин аспирант Дмитрий Семенов и профессор Иван Воронцов. Мы попросили молодого учёного рассказать о своей работе.
– Гидравлические схемы подъёмно-транспортных, строительных и дорожных машин заинтересовали меня на третьем курсе автомобильно-дорожного факультета СПбГАСУ, где я учился по направлению подготовки 23.05.01 «Наземные транспортно-технологические средства». Именно тогда я увлёкся исследованием гидравлических схем подъёмно-транспортных, строительных и дорожных машин.
Передо мной стоял вопрос, с чего начать. Первые шаги в усовершенствовании гидравлических схем и рабочего оборудования машин были сделаны на основе землеройно-транспортной машины – скрепера. Вместе с профессором кафедры НТТМ Сергеем Васильевичем Репиным и старшим преподавателем кафедры транспортных систем Александром Александровичем Белеховым мы произвели детальный проектный расчёт системы с учётом дополнительных элементов. Позднее гидравлическая схема скрепера была представлена к защите в моей выпускной квалификационной работе, а сама методика проектирования гидравлической системы стала базой для следующего исследования.
Интерес к складской технике, в частности, к вилочному погрузчику появился у меня в начале обучения в аспирантуре. В то время я часто посещал складские помещения, где наблюдал за производственными процессами, общался с персоналом, изучал принцип работы вилочного погрузчика. Затем, пользуясь информацией из зарубежных изданий, провёл сравнительный анализ складских помещений, расположенных в Европе и Азии. В результате меня заинтересовало, каким образом можно усовершенствовать вилочный погрузчик, чтобы производительность складских работ повысилась, а машина отечественного производства могла конкурировать с иностранными аналогами. И на протяжении уже трёх лет продолжается моя научная работа в области усовершенствования вилочного погрузчика.
Идею исследования поддержал мой научный руководитель, профессор кафедры НТТМ Иван Иванович Воронцов. Гидравлическая схема вилочного погрузчика – это часть диссертационной работы, непосредственно связанная с цифровой моделью беспилотного вилочного погрузчика. Совместно с научным руководителем обсуждались технические решения по модернизации машины, производились расчёты гидравлической системы и поворотного механизма, выполнялась апробация исследования на конференциях и в научных журналах. Я также благодарен Екатерине Александровне Лаушкиной, специалисту управления научной работы, за помощь в оформлении научной разработки в соответствии с требованиями Федерального института промышленной собственности.
Общий вид вилочного погрузчика с поворотным механизмом: 1 – мачта, 2 – каретка, 3 – грузозахватные вилы, 4 – червячный редуктор, 5 – гидравлический мотор, 6 – кабина оператора, 7 – противовес, 8 – колёсное оборудование
Вилочный погрузчик с поворотным механизмом, вид сверху: 1 – грузозахватные вилы, 2 – каретка, 3 – мачта, 4 – поворотный механизм, 5 – противовес
– Кто-нибудь прежде занимался этой темой?
– Усовершенствование вилочного погрузчика стало обсуждаться в мире ещё в середине ХХ века, когда большинство европейских и азиатских производителей решили опробовать машины на электрических силовых установках, при этом уменьшая размеры самой машины. В настоящее время существует два типа расположения рабочего органа вилочного погрузчика – боковой и прямой. В зависимости от такого расположения со временем появились и разновидности погрузчика – штабелеры и ричтраки.
Тема поворотного механизма погрузчика впервые была озвучена и описана в Великобритании инженером Фредериком Лесли. Позднее поворотный механизм в вилочном погрузчике пытался предложить и другой инженер – Роберт Дандол. Но они не предлагали соответствующей гидравлической схемы работы машины, а делали упор лишь на конструкции нового узла. Разработки усовершенствованных гидравлических схем вилочных погрузчиков в наши дни являются редкостью, поскольку рассматриваемое направление унифицировано и пользуется популярностью лишь в ситуациях, где возникает проблема, которую невозможно решить с помощью машины базовой комплектации.
– Для чего же нужно совершенствовать погрузчики?
– Актуальность темы обусловлена размерами складских помещений: вилочному погрузчику необходимо сделать несколько манёвров, чтобы развернуться на 90 градусов к складской полке и выгрузить паллет с грузом, а эти пространства не всегда просторны. Мы предложили использовать модификацию рабочего узла, оснастив его поворотным механизмом, а гидравлическую схему – гидромотором, который контролировал бы работу узла. При этом регулировку подачи рабочей жидкости в системе нужно сделать не ступенчатой, а объёмной бесступенчатой, что позволит осуществлять подъём/опускание грузозахватных вил и поворот рабочего узла плавно, исключая резкие движения и толчки.
Гидравлическая схема и сопутствующий поворотный механизм могут применяться в складских помещениях с шириной проходов, не превышающих 1,75 метра. Разработка может быть интересна организациям, занимающимся хранением и сортировкой продукции пищевой промышленности, логистическим компаниям по доставке бытовых приборов и инструментов, предприятиям в сфере машиностроения и станкостроения.
– Как проходила ваша работа?
– Исследовательская работа началась с постановки проблемы. Мы опросили рабочих логистической компании. В ходе бесед выявили низкую производительность складских помещений и пришли к выводу о необходимости усовершенствовать существующие вилочные погрузчики. При этом способ модернизации должен быть универсальным и применимым к любой модели машины. Второй этап включал в себя изучение уже существующих решений по вилочным погрузчикам. В том числе мы рассмотрели современные технологии – виртуальная и дополненная реальность, автоматизированные складские помещения, беспилотные вилочные погрузчики. По результатам поиска было решено усовершенствовать вилочный погрузчик поворотным механизмом и модернизировать гидравлическую схему. Далее начался расчётный этап. На основе методики проектирования гидравлической схемы скрепера производился расчёт схемы вилочного погрузчика с учётом добавления в систему нового устройства – гидромотора. Полученные теоретические результаты показали, что система выдержит требуемую нагрузку, и поворотный механизм будет исправно выполнять свою функцию. После этого работоспособность поворотного узла с учётом работы гидравлической системы была проверена с помощью компьютерного моделирования – результат оказался положительным. Завершающим этапом формирования модернизированной гидравлической схемы вилочного погрузчика стало оформление заявки на изобретение.
– Поделитесь, пожалуйста, вашими планами.
– В дальнейшем мне необходимо включить описание поворотного механизма в содержание своей кандидатской диссертации, выполнить автоматизацию вилочного погрузчика посредством написания программы для ЭВМ и создать цифровую модель системы управления рабочим циклом. Затем предстоит воплотить результат в виде опытного образца и защитить данное исследование в кандидатской. В будущем я планирую приступить к модернизации других гидравлических систем подъёмно-транспортных, строительных и дорожных машин, поскольку отечественная техника должна соответствовать современным тенденциям развития и создавать конкуренцию европейским и азиатским аналогам.
- Гидравлическая схема вилочного погрузчика с поворотным механизмом: Н1 и Н2 – гидравлические насосы, Р1 – блок распределителя, Ц1 и Ц2 – цилиндры управления положением мачты, Ц3 и Ц4 – цилиндры подъёма грузозахватных вил, Ц5 – изменение положения каретки, Ц6 – цилиндр рулевого управления, М1 – гидравлический мотор управления поворотным механизмом
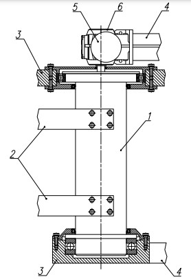
- Поворотный механизм вилочного погрузчика: 1 – опорный вал механизма, 2, 4 – направляющие тяги, 3 – опорные подшипники, 5 – червячный редуктор механизма поворота, 6 – гидравлический мотор